Lotus Offical Part Numbers - Interior Trim
Interior Driving Mirror

| Item | Qty | Part Number | Description |
|---|---|---|---|
| 01 | 1 | A111U6001F | Mirror, interior rear view |
| 02 | 1 | A111U6026F | Mounting Plinth, interior mirror |
| 03 | 1 | A100B6230S | Adhesive Kit, mirror mounting plinth |
Interior Trim & Stowage

| Item | Qty | Part Number | Description | Notes |
|---|---|---|---|---|
| 01 | 1 | A111V6008F | Stowage Net | |
| 02 | 1 | B111V0053K | Rear Quarter Trim, LH | |
| 02a | 1 | B111V0052K | Rear Quarter Trim, RH | With hole for grommet, item 14 |
| 03 | 4 | A111W5222F | Screw, M4 x 30 pan hd. pozi. | |
| 04 | 4 | A111V6009F | 'T' Anchor, stowage net retention | |
| 05 | 2 | A111V0103F | Bracket, fixing post stowage net | Bonded to rear bulkhead |
| 06 | 2 | A075W5012F | Screw No. 6 x 1/2", trim fix. | |
| 07 | 2 | A079W6024F | Spire Nut, trim fix. | |
| 08 | 1 | A111V6019V | Grip-Loc Self Adhesive Loop 20mm | Rear trim to bulkhead/'B' post - (2m) |
| 09 | 1 | A111V6020V | Grip-Loc Self Adhesive Hook 20mm | Rear trim to bulkhead/'B' post - (2m) |
| 10 | 1 | A111V0274J | Pocket, passenger stowage RHD | Side of gear lever cover |
| 10a | 1 | A111V0275J | Pocket, passenger stowage LHD | Side of gear lever cover |
| 11 | 1 | A111V0100K | Stowage Tray, RHD Driver's side | |
| 11a | 1 | A111V0101K | Stowage Tray, LHD Driver's side | |
| 12 | 1 | C075U6071V | Double Sided Tape, stowage tray fixing | |
| 13 | 2 | A075W4069F | Washer, spring M12 | Between belt reel & trim panel |
| 14 | 1 | A036B6182Z | Grommet, alien key stowage | Not illustrated, in RH rear trim, also see 12.02 |
Front Door Trim

| Item | Qty | Part Number | Description |
|---|---|---|---|
| 01 | 1 | A111V0040K | Door Trim, RH |
| 01a | 1 | A111V0041K | Door Trim, LH |
| 02 | 1 | A111V0044K | Escutcheon, interior release, RH |
| 02a | 1 | A111V0045K | Escutcheon, interior release, LH |
| 03 | 14 | A111W6534F | Plastic Fastener, door trims |
| 04 | 4 | A111W6535F | Plastic Fastener, escutcheons |
Interior Trims

| Item | Qty | Part Number | Description |
|---|---|---|---|
| 01 | 1 | A111V0113J | Trim Pad Assembly, LH Blue leather |
| 01a | 1 | A111V0115J | Trim Pad Assembly, LH Red leather |
| 01b | 1 | A111V0109J | Trim Pad Assembly, LH Fawn leather |
| 01c | 1 | A111V0111J | Trim Pad Assembly, LH Charcoal leather |
| 01d | 1 | A111V0249J | Trim Pad Assembly, LH Magnolia leather |
| 01e | 1 | A111V0202J | Trim Pad Assembly, LH Black leather |
| 01f | 1 | A111V0204J | Trim Pad Assembly, LH Red Wing, leather |
| 01g | 1 | A111V0179J | Trim Pad Assembly, LH Racing green |
| 01h | 1 | A111V0188J | Trim Pad Assembly, LH Begonia |
| 01i | 1 | A111V0183J | Trim Pad Assembly, LH Viking blue |
| 01j | 1 | A111V0173J | Trim Pad Assembly, LH Golden tan |
| 02 | 1 | A111V0114J | Trim Pad Assembly, RH Blue leather |
| 02a | 1 | A111V0116J | Trim Pad Assembly, RH Red leather |
| 02b | 1 | A111V0110J | Trim Pad Assembly, RH Fawn leather |
| 02c | 1 | A111V0112J | Trim Pad assembly, RH Charcoal leather |
| 02d | 1 | A111V0248J | Trim Pad Assembly, RH Magnolia leather |
| 02e | 1 | A111V0203J | Trim Pad Assembly, RH Black leather |
| 02f | 1 | A111V0205J | Trim Pad Assembly, RH Red wing, leather |
| 02g | 1 | A111V0179J | Trim Pad Assembly, RH Racing green |
| 02h | 1 | A111V0189J | Trim Pad Assembly, RH Begonia |
| 02i | 1 | A111V0184J | Trim Pad Assembly, RH Viking blue |
| 02j | 1 | A111V0174J | Trim Pad Assembly, RH Golden tan |
| 03 | 1 | A111V0251J | Trim Pad Assembly, long, LH, AC cars - Black only |
| 04 | 1 | A111V0250J | Trim Pad Assembly, long, RH, AC cars - Black only |
Centre Tunnel Trim, Gear Lever gaiters

| Item | Qty | Part Number | Description |
|---|---|---|---|
| 01 | 1 | A111U0216K | Cover, gear lever, RHD No stowage pocket fixing |
| 01a | 1 | A111U0212K | Cover, gear lever, RHD With pocket fixing |
| 01b | 1 | A111U0209J | Cover, gear lever, LHD Assembly with pocket |
| 01c | 1 | A111U0217K | Cover, gear lever, LHD No stowage pocket fixing |
| 01d | 1 | A111U0211K | Cover, gear lever, LHD With pocket fixing |
| 01e | 1 | A111U0210J | Cover, gear lever, RHD Assembly with pocket |
| 02 | 1 | A111U0102K | Cover, handbrake |
| 03 | 1 | B111A0068F | Cover, tunnel front, RHD Alloy |
| 03a | 1 | A111A0106F | Cover, tunnel front, LHD Alloy |
| 04 | 1 | C111A0067F | Mounting Bracket, front tunnel to floor |
| 05 | 1 | A082W6505F | Plastic Fastener, tunnel fix. |
| 06 | 1 | B111A0069F | Mounting Bracket, front tunnel to toeboard |
| 07 | 1 | A082W6243F | Pop Rivet, 3/16" x 9/16", bracket fix. |
| 08 | 4 | A111W6613F | Blind Rivet, tunnel mount fix. |
| 09 | 2 | A082W5457F | Clip, harness retention |
| 10 | 0.16m | B075U6054V | Edging Strip, harness protection |
| 11 | 0.55m | B075U6070V | Tape, double sided, tunnel mount to floor |
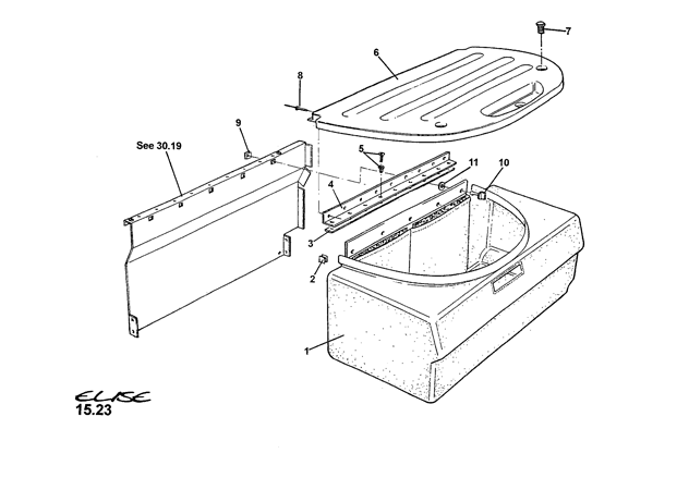
Boot / Luggage Compartment

| Item | Qty | Part Number | Description |
|---|---|---|---|
| 01 | 1 | A111V0151J | Boot Bag |
| 02 | 2 | A111V0156F | Clip, boot bag to clamshell gutter |
| 03 | 1 | A111V0155K | Shim 1,6mm,, hinge height adjustment |
| 03a | 1 | A111V0154K | Shim 2.4mm,, hinge height adjustment |
| 04 | 1 | A111V0143F | Hinge, boot bag lid |
| 05 | 9 | A111W6535F | Fastener, plastic, hinge to bulkhead |
| 06 | 1 | A111V0142K | Lid, boot bag |
| 07 | 2 | A082U6163F | Buffer/Adjuster, boot bag lid |
| 08 | 9 | A111W6604F | R-Lok Expansion Rivet, hinge to boot bag lid |
| 09 | 5 | B075W6181F | Cam, turnbuckle, boot bag to bulkhead |
| 10 | 5 | A075W6180F | Stud, turnbuckle, boot bag to bulkhead |
| 11 | 5 | A075W6180F | Washer, flat, boot bag to bulkhead (part no as above?) |
Luggage Compartment Carpet

| Item | Qty | Part Number | Description | Notes | |
|---|---|---|---|---|---|
| 01 | 1 | B111V0427J | Carpet Set, composite boot-box | Incl. fastener buttons, items 2/3 | Boot-box cars |
| 02 | 5 | A111B6074F | Press Fastener Button, bulkhead carpet fix. | Part of item 1 | Boot-box cars |
| 03 | 5 | A111B6075F | Press Fastener Socket, bulkhead carpet fix. | Part of item 1 | Boot-box cars |
| 04 | 5 | A111B6076F | Press Fastener Stud, carpet to bulkhead | Boot-box cars | |
| 05 | 5 | A075W4001Z | Washer, flat, 1/8x3/8" | Boot-box cars | |
| 06 | 5 | A075W6070Z | Pop Rivet, fastener fix. | Boot-box cars |
Carpeting & Mats

| Item | Qty | Part Number | Description | Notes |
|---|---|---|---|---|
| 01 | 1 | A111V0046S | Floor Mat, RH, RHD | |
| 01a | 1 | A111V0048S | Floor Mat, RH, LHD | |
| 02 | 1 | A111V0047S | Floor Mat, LH, RHD | |
| 02a | 1 | A111V0049S | Floor Mat, LH, LHD | |
| 05 | B074U6070V | Double sided tape, 25mm width | ||
| 06 | 1 | A111V0534F | Floor Mat Set, black/gold, RHD | Not illustrated, JPS 111S |
N.B. These mat sets were superseeded by corrosion fixes
